SPEC Seal of Reviewal SPECmail2001 Result
Copyright © 1999-2001 Standard Performance Evaluation Corporation
Mirapoint MSR 2.8 SPECmail2001 msgs/min = 2,000
SPEC license # 69 Tested by:
Mirapoint
Test date:
Jan-2001
Hardware Avail:
Mar-2001
Software Avail:
Jan-2001

2,000 SPECmail2001 messages per minute is equivalent to 400,000 SPECmail2001_users.

Detail Summary | General Notes
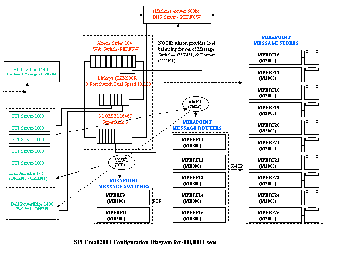
System configurations: Message Switch (POP) | Message Router (SMTP) | Message Store (SMTP/POP) | Benchmark Manager | Mail Sink | Load Generator | Configuration diagram
Detailed results: Detailed Results 80% load | Detailed Results 100% load | Detailed Results 120% load


Summary Results
Function Response
time limit
(seconds)
Required
Percentage
Compliant
Percentage Compliant
80% 100% 120%
SMTP Connect 5 >95% 100.00% 100.00% 98.02%
SMTP Data 5 >95% 100.00% 100.00% 100.00%
POP Connect 5 >95% 100.00% 100.00% 100.00%
POP Status 5 >95% 100.00% 100.00% 100.00%
POP Retrieve 5 >95% 100.00% 100.00% 100.00%
POP Delete 5 >95% 100.00% 100.00% 100.00%
Delivery Time 60 >95% 99.14% 99.01% 95.60%
Error Rate NA <1% 0.15% 0.14% 1.13%

Message Switch (POP) (2 systems)
Software
MPER9,MPERF10: MSR 2.8 Operating System: MOS
Availability: Jan-2001 File System: JFS/MOS
Hardware
Vendor: Mirapoint CPU: Pentium II
Model Name: MD200 CPU MHz: 400
Availability: Nov-2000 CPUs Enabled: 1 core, 1 chip, 1 core/chip
Disk Subsystem: 3 x 18GB SCSI Primary Cache: 16KB(I) + 16KB(D) on chip
Memory (MB): 512 Secondary Cache: 512KB
Network: Intel 10/100 Pro Other Cache: N/A
# of Systems: 2 Other: None
Notes / Tuning Information
- LDAP routing license enabled
- Customer Care option disabled
- LDIF (LDAP Directory Interchange Format) for messaging routing
  NOTE: The system must be idle when updating the LDIF file.
- One RAID I volume with one spare; spindle: 7200 RPM, 18 GB capacity
- TSI Power UPS (internal)
- MSL is 30 seconds (default)
- TIME_WAIT is 60 seconds (default)
- MSS is 1460 bytes (default)

Message Router (SMTP) (5 systems)
Software
MPERF11-MPERF15: MSR 2.8 Operating System: MOS
Availability: Jan-2001 File System: JFS/MOS
Hardware
Vendor: Mirapoint CPU: Pentium III
Model Name: MD300 CPU MHz: 1000
Availability: Mar-2001 CPUs Enabled: 1 core, 1 chip, 1 core/chip
Disk Subsystem: 3 x 36GB SCSI Primary Cache: 16KB(I) + 16KB(D) on chip
Memory (MB): 768 Secondary Cache: 512KB
Network: Intel 10/100 Pro Other Cache: N/A
# of Systems: 5 Other: None
Notes / Tuning Information
- LDAP routing license enabled
- Customer Care option disabled
- LDIF (LDAP Directory Interchange Format) for messaging routing
  NOTE: The system must be idle when updating the LDIF file.
- One RAID I volume with one spare; spindle: 10,000 RPM, 36 GB capacity
- Adaptec(DPT) disk controller with 72 hours battery backup protection
- MSL is 30 seconds (default)
- TIME_WAIT is 60 seconds (default)
- MSS is 1460 bytes (default)

Message Store (SMTP/POP) (10 systems)
Software
MPERF16-MPERF25: MSR 2.8 Operating System: MOS
Availability: Jan-2001 File System: JFS/MOS
Hardware
Vendor: Mirapoint CPU: Pentium III
Model Name: M2000 CPU MHz: 600
Availability: Sep-2000 CPUs Enabled: 1 core, 1 chip, 1 core/chip
Disk Subsystem: 7 x 36GB SCSI Primary Cache: 16KB(I) + 16KB(D) on chip
Memory (MB): 768 Secondary Cache: 512KB
Network: Intel 10/100 Pro Other Cache: N/A
# of Systems: 10 Other: None
Notes / Tuning Information
- Unlimited User and unlimited POP licenses enabled
- Customer Care option disabled
- Three RAID I volumes with one spare; spindle: 10,000 RPM, 36 GB capacity
- APC Smart-UPS 1400 (external)
- MSL is 30 seconds (default)
- TIME_WAIT is 60 seconds (default)
- MSS is 1460 bytes (default)

Benchmark Manager (1 system)
Software
OPERF9: Microsoft Windows Operating System: NT 4.0 (service pack 5)
Availability: Jan-1998 File System: FAT
Hardware
Vendor: Hewlett-Packard CPU: AMD-K6-2
Model Name: Pavilion 4440 CPU MHz: 333
Availability: Jan-2000 CPUs Enabled: 1 core, 1 chip, 1 core/chip
Disk Subsystem: 1 x 4GB SCSI Primary Cache: 32KB(I) + 32KB(D) on chip
Memory (MB): 156 Secondary Cache: 512KB
Network: Intel 10/100 Pro Other Cache: N/A
# of Systems: 1 Other: None
Notes / Tuning Information
- MaxUserPort set to value 65534

Mail Sink (1 system)
Software
OPERF4: Microsoft Windows Operating System: NT 4.0 (service pack 5)
Availability: Jan-1998 File System: NTFS
Hardware
Vendor: Dell CPU: Pentium III
Model Name: Power Edge 1400 CPU MHz: 933
Availability: Jun-2000 CPUs Enabled: 1 core, 1 chip, 1 core/chip
Disk Subsystem: 1 x 4GB SCSI Primary Cache: 16KB(I) + 16KB(D) on chip
Memory (MB): 768 Secondary Cache: 256KB
Network: Intel 10/100 Pro Other Cache: N/A
# of Systems: 1 Other: None
Notes / Tuning Information
- Comment out line for SMTP in /WINNT/system32/drivers/etc/SERVICES file
  NOTE: This is required to allow the Sink to connect to port 25.
- MaxUserPort set to value 65534

Load Generator (5 systems)
Software
OPERF10-OPERF14: Microsoft Windows Operating System: NT 4.0 (service pack 5)
Availability: Jan-1998 File System: NTFS
Hardware
Vendor: FIT CPU: Pentium III
Model Name: Server-1000 CPU MHz: 800
Availability: Jun-2000 CPUs Enabled: 1 core, 1 chip, 1 core/chip
Disk Subsystem: 1 x 30GB IDE Primary Cache: 16KB(I) + 16KB(D) on chip
Memory (MB): 128 Secondary Cache: 256KB
Network: Intel 10/100 Pro Other Cache: N/A
# of Systems: 5 Other: None
Notes / Tuning Information
- MaxUserPort set to value 65534


Detailed Results -- 80% Load
Load User Count Message Rate
(msg/min)
Attempted 320,000 1,600
Actual 320,200 1,601
Function Attempts # Pass
QoS
% Pass
QoS
SMTP Connect 183,203 183,203 100.00%
SMTP Hello 183,203 183,203 100.00%
SMTP Mail From 183,205 183,205 100.00%
SMTP Rcpt To 368,566 368,566 100.00%
SMTP Data 182,661 182,661 100.00%
SMTP Quit 180,840 180,840 100.00%
POP Connect 191,895 191,895 100.00%
POP User ID 191,896 191,896 100.00%
POP Password 191,893 191,893 100.00%
POP Status 191,893 191,893 100.00%
POP Retrieve 189,856 189,856 100.00%
POP Delete 189,389 189,389 100.00%
POP Quit 191,439 191,439 100.00%
Delivery Time 1,860 1,844 99.14%
SMTP Data Response Time 182,661 180,840 99.00%
POP Retrieve Response Time 189,856 189,580 99.85%
Remote Message Delivery 176,177 173,401 98.42%

Counter

Value
SMTP Connect Error 562
SMTP Protocol Error 0
SMTP Disconnect 1,821
SMTP Session 181,402
SMTP To Local 192,390
SMTP To Remote 176,177
SINK Connect Error 0
POP Connect Error 0
POP Protocol Error 0
POP Disconnect 467
POP Session 191,439
Delivery Time Connect Error 0
Function Minimum Time
(millisec)
Maximum Time
(millisec)
Average Time
(millisec)
SMTP Connect 0 2,934 18.16
SMTP Hello 0 411 24.39
SMTP Mail From 0 390 17.81
SMTP Rcpt To 0 400 12.46
SMTP Data 0 1,242 24.94
SMTP Quit 0 190 3.95
POP Connect 0 761 8.46
POP User ID 0 831 23.55
POP Password 0 1,052 43.11
POP Status 0 441 5.00
POP Retrieve 0 791 25.55
POP Delete 0 721 7.46
POP Quit 0 1,152 13.90
Function Minimum Size
(KB)
Maximum Size
(KB)
Average Size
(KB)
SMTP Data (KB up) 1 2,674 21.69
POP Retrieve (KB down) 1 2,675 24.40


Detailed Results -- 100% Load
Load User Count Message Rate
(msg/min)
Attempted 400,000 2,000
Actual 399,200 1,996
Function Attempts # Pass
QoS
% Pass
QoS
SMTP Connect 227,801 227,801 100.00%
SMTP Hello 227,800 227,800 100.00%
SMTP Mail From 227,800 227,800 100.00%
SMTP Rcpt To 451,795 451,795 100.00%
SMTP Data 227,162 227,162 100.00%
SMTP Quit 224,925 224,925 100.00%
POP Connect 239,838 239,838 100.00%
POP User ID 239,838 239,838 100.00%
POP Password 239,841 239,841 100.00%
POP Status 239,843 239,843 100.00%
POP Retrieve 239,098 239,098 100.00%
POP Delete 238,491 238,491 100.00%
POP Quit 239,224 239,224 100.00%
Delivery Time 2,329 2,306 99.01%
SMTP Data Response Time 227,162 224,925 99.02%
POP Retrieve Response Time 239,098 238,755 99.86%
Remote Message Delivery 213,876 210,409 98.38%

Counter

Value
SMTP Connect Error 639
SMTP Protocol Error 0
SMTP Disconnect 2,237
SMTP Session 225,564
SMTP To Local 237,918
SMTP To Remote 213,876
SINK Connect Error 0
POP Connect Error 0
POP Protocol Error 0
POP Disconnect 605
POP Session 239,224
Delivery Time Connect Error 0
Function Minimum Time
(millisec)
Maximum Time
(millisec)
Average Time
(millisec)
SMTP Connect 0 461 22.41
SMTP Hello 0 471 28.76
SMTP Mail From 0 481 22.01
SMTP Rcpt To 0 331 14.28
SMTP Data 0 1,212 28.99
SMTP Quit 0 180 4.15
POP Connect 0 721 9.05
POP User ID 0 832 25.31
POP Password 0 1,292 52.06
POP Status 0 791 5.76
POP Retrieve 0 1,242 29.13
POP Delete 0 791 8.29
POP Quit 0 1,392 16.45
Function Minimum Size
(KB)
Maximum Size
(KB)
Average Size
(KB)
SMTP Data (KB up) 1 2,674 21.58
POP Retrieve (KB down) 1 2,675 24.16


Detailed Results -- 120% Load
Load User Count Message Rate
(msg/min)
Attempted 480,000 2,400
Actual 474,400 2,372
Function Attempts # Pass
QoS
% Pass
QoS
SMTP Connect 271,577 266,212 98.02%
SMTP Hello 271,576 266,210 98.02%
SMTP Mail From 268,566 265,537 98.87%
SMTP Rcpt To 536,500 536,500 100.00%
SMTP Data 267,383 267,383 100.00%
SMTP Quit 264,631 264,631 100.00%
POP Connect 287,786 287,786 100.00%
POP User ID 287,782 287,782 100.00%
POP Password 287,784 287,784 100.00%
POP Status 287,783 287,783 100.00%
POP Retrieve 285,606 285,606 100.00%
POP Delete 284,793 284,793 100.00%
POP Quit 286,968 286,968 100.00%
Delivery Time 2,684 2,566 95.60%
SMTP Data Response Time 267,383 264,629 98.97%
POP Retrieve Response Time 285,606 285,221 99.87%
Remote Message Delivery 254,684 250,151 98.22%

Counter

Value
SMTP Connect Error 6,338
SMTP Protocol Error 0
SMTP Disconnect 2,754
SMTP Session 270,969
SMTP To Local 281,941
SMTP To Remote 254,684
SINK Connect Error 0
POP Connect Error 1
POP Protocol Error 1
POP Disconnect 814
POP Session 286,969
Delivery Time Connect Error 55
Function Minimum Time
(millisec)
Maximum Time
(millisec)
Average Time
(millisec)
SMTP Connect 0 14,150 231.50
SMTP Hello 0 14,361 238.13
SMTP Mail From 0 21,731 181.47
SMTP Rcpt To 0 2,824 27.35
SMTP Data 0 4,606 60.75
SMTP Quit 0 271 4.46
POP Connect 0 2,954 9.91
POP User ID 0 2,343 28.10
POP Password 0 1,983 60.53
POP Status 0 1,943 6.84
POP Retrieve 0 1,983 33.70
POP Delete 0 1,993 9.69
POP Quit 0 2,493 20.12
Function Minimum Size
(KB)
Maximum Size
(KB)
Average Size
(KB)
SMTP Data (KB up) 1 2,674 21.52
POP Retrieve (KB down) 1 2,675 23.92

General Notes / Tuning Information
The following is a list of network hardware used during the test:
 - One Linksys 8 port switch, model EZXS88R
 - One 3COM 24 port switch, model 3C16467
 - One Alteon 9 port web switch, model 184
    NOTE: The Alteon provides load balancing for set of Message Switches and Routers.

The following describes the DNS setup used during the test:
 - Each machine has an A record with its IP address
 - Each machine has a PTR record for reverse mapping its IP address to the actual machine name
 - There are entries for two virtual machines: vsw1 and vmr1
      NOTE: vsw1 and vmr1 are configured in the Alteon for set of Message Switches and Routers, respectively.
      For instance, the Alteon round-robins amongst the set of Message Switches/Routers when a connection is made
      to either virtual machine vsw1 or vmr1.
 - There is an MX record for local.p.net and remote.p.net that points to vmr1.p.net and operf4.p.net, respectively.
      NOTE: The MX records have a preference level of 10.
 - There is a CNAME (alias) record for pop.p.net and smtp.p.net that points to vsw1.p.net and vmr1.p.net, respectively.


For questions about this result, please contact the tester.
For other inquiries, please contact webmaster@spec.org
Copyright © 1999-2001 Standard Performance Evaluation Corporation

First published at SPEC.org on 24-Jan-2001

Benchmark run on Tue Jan 16 18:53:54 PST 2001 by SPECmail2001 v1.00
Report generated on Mon Apr 25 17:24:24 EDT 2005 by SPECmail2001 v1.05 HTML Formatter